Снятие
1. Поднимите автомобиль.
2. Отверните болт на 14 мм, три гайки и снимите кронштейн опоры двигателя.

3. Выверните болты крепления шкива водяного насоса.
4. Ослабьте болт крепление генератора.
5. Снимите шкив водяного насоса и ремень.

6. Снимите шкив коленчатого вала.
7. Снимите кожух зубчатого ремня.
8. Переместите ролик натяжения зубчатого ремня к водяному насосу и временно закрепите его в этом положении.
9. Снимите зубчатый ремень.
Примечание. Отметьте направление вращения зубчатого ремня для повторной установки его в первоначальное положение.

10. Выверните болт крепления шкива распределительного вала.
11. Снимите шкив с распределительного вала.
12. Выверните болт крепления шкива коленчатого вала. Снимите шкив коленчатого вала и фланец.
13. Снимите натяжной ролик зубчатого ремня.

Проверка
Шкивы и ролик механизма натяжения зубчатого ремня и направляющий ролик
1. Проверьте шкивы распределительного и коленчатого валов, ролик механизма натяжения и направляющий ролик на отсутствие неравномерного износа, трещин и повреждений.
2. Проверьте легкость и плавность вращения ролика механизма натяжения и направляющего ролика, а также отсутствие постороннего шума при вращении. При необходимости замените ролики.
3. Замените ролики при наличии утечки смазки из подшипников.

Зубчатый ремень
1. Проверьте зубчатый ремень на отсутствии следов масла, воды или пыли. Если необходимо замените ремень. Незначительные следы должны быть вытерты сухой тканью или бумагой. Не чистите зубчатый ремень растворителем.

2. После ремонта двигателя или регулировки натяжение ремня, проверьте состояние ремня. При наличии дефектов, приведенных в таблице, замените зубчатый ремень.
Установка
1. Установите фланец, и шкив коленчатого вала как показано на рисунке. Обратите внимание на направление их установки.

2. Установите шкив распределительного вала и закрепите болтом, затянув его требуемым моментом.
Момент затяжки: 80–100 Н·м
3. Установите направляющий ролик и закрепите болтом, затянув его требуемым моментом.
Момент затяжки: 43–55 Н·м
4. Совместите установочную метку (А) на шкиве распределительного вала с меткой (В) на крышке подшипника. Установите поршень первого цилиндра в ВМТ в конце такта сжатия, при этом метка на шкиве коленчатого вала должна совместиться с меткой на передней крышке блока цилиндров.
![]() |
![]() |
5. При установке механизма натяжения зубчатого ремня в первую очередь установите механизм натяжения, пружину и распорную втулку. Временно затяните болты. Затем, временно сожмите механизм натяжения, вставив болт в удлиненное отверстие. Заведите нижний конец пружины за переднюю крышку блока цилиндров, как показано на рисунке.

6. Зафиксируйте механизм натяжения, отведенный к водяному насосу.
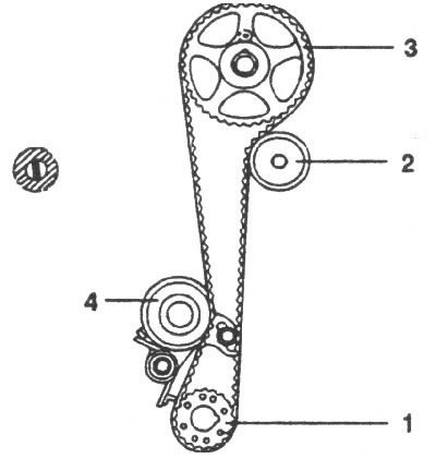
7. Установите зубчатый ремень на шкивы в следующем порядке:
- шкив коленчатого вала;
- направляющий ролик;
- шкив распределительного вала;
- натяжной ролик.

8. Установите зубчатый ремень на шкив распределительного вала, при этом убедитесь, что исключено его провисание со стороны натяжения. Затем, поворачивая шкив распределительного вала в обратном направлении, убедитесь, что натяжная ветвь натягивается и все установочные метки совмещены.
9. Затяните болты крепления механизма натяжения зубчатого ремня.
10. Проверните по часовой стрелке коленчатый вал двигателя на два полных оборота так, чтобы поршень 1-го цилиндра установился в ВМТ конце такта сжатия, при этом метка на шкиве зубчатого ремня распределительного вала совместилась с меткой на крышке подшипника распределительного вала.
Момент затяжки: 20–27 Н·м
11. Проверьте натяжение зубчатого ремня. При нажатии натяжного ролика и на натянутую ветвь зубчатого ремня усилием 49 Н зубчатый ремень должен прогнуться до центра головки болта крепления натяжного ролика.

12. Установите кожух зубчатого ремня.
Момент затяжки: 8–10 Н·м
13. Установите шкив коленчатого вала, при этом штифт должен войти в отверстие небольшого диаметра шкива коленчатого вала.
Момент затяжки: 140–150 Н·м

14. Установите поликлиновой ремень привода вентилятора и отрегулируйте его натяжение.
15. Установите шкив водяного насоса.
16. Установите поликлиновой ремень и отрегулируйте его натяжение.


