Оглавление: Меры безопасности при работах с…⇓ Элементы системы зажигания ⇓ Катушка зажигания ⇓ Свечи зажигания ⇓
Система зажигания вырабатывает в каждом цилиндре искру в определенный момент времени. Она воспламеняет подаваемую топливовоздушную смесь. Для этого в катушке зажигания напряжение аккумуляторной батареи 12 В преобразуется в напряжение 25 000–30 000 В. Электронный блок управления системы управления двигателем оснащен памятью для записи кодов неисправностей, возникающих в системе зажигания во время движения автомобиля. Перед ремонтом системы зажигания необходимо сначала считать коды неисправностей из памяти блока управления. Опрос памяти блока управления осуществляется специальным прибором через диагностический разъем, находящийся под панелью приборов.
Меры безопасности при работах с элементами электронной системы зажигания
Напряжение в высоковольтной части системы зажигания составляет до 30 кВ. При неблагоприятных обстоятельствах, например при повышенной влажности в моторном отсеке, скачки напряжения могут пробить изоляцию, что при касании может привести к электротравме. чтобы избежать травм и/или повреждений электронной системы зажигания, при работах на автомобилях с электронным зажиганием нужно придерживаться следующих правил:
- перед проворачиванием коленчатого вала стартером (например, при проверке компрессии) выключите зажигание и отсоедините контактный разъем от усилителя мощности, расположенного на катушке зажигания;
- не касайтесь руками и не отключайте высоковольтные провода системы зажигания на работающем двигателе или при проворачивании коленчатого вала двигателя стартером;
- отключайте провода системы зажигания только при выключенном зажигании;
- проводите подключение и отключение контрольных приборов (тахометр и тестер зажигания) только при выключенном зажигании;
- при буксировке автомобиля, у которого в системе зажигания возникла неисправность или предполагается ее наличие, следует отключить провод от усилителя мощности;
- допускается пуск двигателя в течение 1 мин с помощью быстрозарядного устройства максимальным напряжением 16,5 В. После каждой попытки пуска следует делать паузу продолжительностью не менее 1 мин;
- катушку зажигания нельзя заменить на катушку от другой модели или модификации автомобиля с другим двигателем. Ни в коем случае нельзя устанавливать катушку зажигания от контактной системы зажигания;
- полное отключение аккумуляторной батареи можно проводить только при выключенном зажигании, иначе можно повредить блок управления системы зажигания;
- проводите мойку двигателя только при выключенном зажигании;
- с электронной системой зажигания не должны работать лица с электрокардиостимуляторами;
- после нагревания до температуры более +80°C (например, при окрасочных работах) не пускайте двигатель непосредственно после нагрева;
- при работе с электро- и точечной сваркой полностью отключайте аккумуляторную батарею;
- не прикладывайте к блоку управления напряжение для имитации выходного сигнала.
Элементы системы зажигания
Расположение в моторном отсеке элементов системы зажигания двигателей с двумя распределительными валами в головке блока цилиндров (DOHC): 1 – провода высокого напряжения; 2 – свечи зажигания; 3 – катушка зажигания
Расположение в моторном отсеке элементов системы зажигания двигателей с одним распределительным валом в головке блока цилиндров (SOHC): 1 – катушка зажигания; 2 – провода высокого напряжения
Расположение в моторном отсеке элементов системы зажигания двигателей с двумя распределительными валами в головке блока цилиндров (DOHC) показано на рисунок 7.28. Расположение в моторном отсеке элементов системы зажигания двигателей с одним распределительным валом в головке блока цилиндров (SOHC) показано на рисунке.
Катушка зажигания
Снятие и установка
Снимите предохранитель системы зажигания (плавкую вставку).
Отсоедините провода.
Крепление катушки зажигания двигателей рабочим объемом 1,1 л
Крепление катушки зажигания двигателей рабочим объемом 1,3, 1,5 и 1,6 л
Снимите катушку зажигания, отвернув болт крепления.
Установку проводите в порядке, обратном снятию.
Проверка технического состояния
Проверка сопротивления первичной обмотки катушки зажигания: 1 – катушка зажигания второго и третьего цилиндров; 2 – катушка зажигания первого и четвертого цилиндров
Текст взят из интернет-источника [hyundaibook]
Проверьте сопротивление первичной обмотки катушек между контактами «1» и «2».
Проверьте сопротивление вторичной обмотки катушек между высоковольтными выводами катушки первого и четвертого цилиндров и высоковольтными выводами второго и третьего цилиндров.
Проверка сопротивления вторичной обмотки катушки зажигания
Номинальное сопротивление вторичной обмотки катушек зажигания (13±15) кОм.
Внимание! Проверку сопротивления вторичных обмоток проводите только при разъединенном разъеме катушек зажигания.
Свечи зажигания
Производителями автомобилей рекомендуется применение свечей зажигания определенного типа, но можно использовать подходящие свечи и других типов с соответствующим калильным числом.
Свечи зажигания надо очищать с помощью пескоструйного аппарата через каждые 10 000 км пробега автомобиля. При этом следует установить соответствующее межэлектродное расстояние. При регулировке расстояния никогда не подгибайте центральный электрод, так как может лопнуть его керамический изолятор.
Перед отворачиванием свечей зажигания проверьте, чтобы в колодцах свечей в головке блока цилиндров не находились посторонние предметы. Попавшие в отверстия свечей шайбы, болты или мелкие камни разрушат клапаны, седла клапанов или головку блока цилиндров при первом же пуске двигателя. Свеча зажигания состоит из центрального электрода, изолятора с корпусом и бокового электрода «массы». Центральный электрод герметично установлен в изоляторе. Последний прочно связан с корпусом. Между центральным и боковым электродами проскакивает искра зажигания, воспламеняющая топливовоздушную смесь в цилиндре двигателя. От свечи зажигания зависят пусковые качества двигателя, характер его работы на холостом ходу, приемистость и максимальная скорость автомобиля. Поэтому не рекомендуется без особых причин переходить от свечей, рекомендованных заводом-изготовителем, к свечам другого типа. Тепловая характеристика (калильное число) свечи является показателем степени тепловой нагрузки свечи в двигателе при определенных условиях эксплуатации. Свечи подбирают таким образом, чтобы при всех возможных условиях эксплуатации автомобиля они достигали температуры самоочищения. Чем ниже калильное число свечи, тем выше ее сопротивляемость калильному зажиганию и тем меньше ее сопротивление загрязнению. Чем выше калильное число, тем ниже сопротивляемость свечи калильному зажиганию и тем выше ее сопротивление загрязнению.
Калильное число содержится в обозначении свечи.
Снятие
Наконечник высоковольтного провода системы зажигания двигателей с одним распределительным валом в головке блока цилиндров (SOHC)
Наконечник высоковольтного провода системы зажигания двигателей с двумя распределительными валами в головке блока цилиндров (DOHC)
Отсоедините провода от свечей зажигания.
Примечание. Во избежание повреждения высоковольтного провода отсоединяйте его, потянув за наконечник провода, а не за сам провод.
Свечным ключом выверните все свечи зажигания из головки блока цилиндров.
Внимание! Проследите за тем, чтобы в цилиндры через гнезда под свечи зажигания не попали загрязнения.
Проверка технического состояния
Места визуальной проверки состояния свечи зажигания
Проверьте свечи зажигания на наличие следующих дефектов:
- повреждение изолятора (точка 1 на рисунке);
- выгорание электродов (точка 2);
- нагар (точка 3);
- повреждение прокладки (точка 4);
- повреждение фарфорового изолятора на конце свечи (точка 5).
Зазор (А) между электродами свечи зажигания
Проверьте щупом и при необходимости отрегулируйте зазор А между электродами свечей зажигания.
Номинальное значение зазора между электродами свечи зажигания (при использовании неэтилированного бензина) 1,0–1,1 мм.
Вверните свечи зажигания рукой и затяните моментом 20–30 Н·м.
Чрезмерная затяжка свечей может привести к повреждению резьбы гнезд под свечи.
Определение состояния двигателя по внешнему виду свечей зажигания
Состояние двигателя можно оценить по цвету нагара на электродах свечей зажигания.
Проверка свечей зажигания (при возможности проворачивания коленчатого вала двигателя)
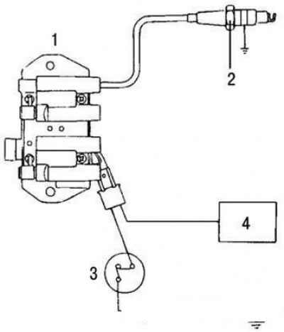
Схема проверки свечи зажигания при проворачивании коленчатого вала двигателя стартером (зажигание включено): 1 – катушка зажигания; 2 – свеча зажигания; 3 – выключатель зажигания; 4 – электронный блок управления
Схема проверки свечи зажигания при проворачивании коленчатого вала двигателя стартером (зажигание включено) показана на рисунке.
Присоедините провод к свече зажигания. Соедините наружный электрод свечи (корпус) с «массой» и проворачивайте коленчатый вал. Вследствие малого давления окружающей среды образуются только короткие искры. Однако, если свеча исправна, искрообразование должно происходить в искровом промежутке свечи (между электродами). При неисправной свече искрообразования не будет из-за утечки тока через изолятор.
