Примечание. Перед отсоединением промаркируйте вакуумные шланги для того, чтобы их можно было установить на свои места.
1. Отсоедините вакуумный шланг от электромагнитного клапана.
2. Отсоедините от клапана электрический разъем.
3. Соедините вакуумный насос с патрубком, к которому был подсоединен вакуумный шланг с красной полосой.
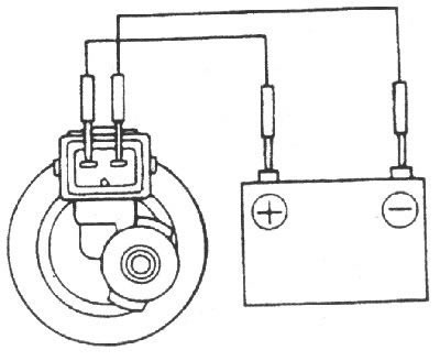
4. Создайте разрежение и проверьте работу электромагнитного клапана продувки адсорбера в момент подачи на него напряжения и в момент отключения напряжения.
| Напряжение батареи | Нормальное состояние |
| Когда подается напряжение | Разрежение сбрасывается |
| Когда прекращается подача напряжения | Разряжение поддерживается |

5. Измерьте сопротивление между клеммами электромагнитного клапана очистки канистры с активированным углем.
Сопротивление: 26 Ом при 20°C

[Статья позаимствована с веб-сайта: HYUNDAIBOOK]
